The protection parameters are placed in the descriptor by systems software at the time a descriptor is created. In general, applications programmers do not need to be concerned about protection parameters.
When a program loads a selector into a segment register, the processor loads not only the base address of the segment but also protection information. Each segment register has bits in the invisible portion for storing base, limit, type, and privilege level; therefore, subsequent protection checks on the same segment do not consume additional clock cycles.
The type fields of data and executable segment descriptors include bits
which further define the purpose of the segment (refer to
Figure 6-1
):
When G=0, the actual limit is the value of the 20-bit limit field as it
appears in the descriptor. In this case, the limit may range from 0 to
0FFFFFH (2^(20) - 1 or 1 megabyte). When G=1, the processor appends 12
low-order one-bits to the value in the limit field. In this case the actual
limit may range from 0FFFH (2^(12) - 1 or 4 kilobytes) to 0FFFFFFFFH(2^(32)
- 1 or 4 gigabytes).
For all types of segments except expand-down data segments, the value of
the limit is one less than the size (expressed in bytes) of the segment. The
processor causes a general-protection exception in any of these cases:
The expand-down feature makes it possible to expand the size of a stack by
copying it to a larger segment without needing also to update intrastack
pointers.
The limit field of descriptors for descriptor tables is used by the
processor to prevent programs from selecting a table entry outside the
descriptor table. The limit of a descriptor table identifies the last valid
byte of the last descriptor in the table. Since each descriptor is eight
bytes long, the limit value is N * 8 - 1 for a table that can contain up to
N descriptors.
Limit checking catches programming errors such as runaway subscripts and
invalid pointer calculations. Such errors are detected when they occur, so
that identification of the cause is easier. Without limit checking, such
errors could corrupt other modules; the existence of such errors would not
be discovered until later, when the corrupted module behaves incorrectly,
and when identification of the cause is difficult.
Figure 6-2
shows how these levels of privilege can be interpreted as rings
of protection. The center is for the segments containing the most critical
software, usually the kernel of the operating system. Outer rings are for
the segments of less critical software.
It is not necessary to use all four privilege levels. Existing software
that was designed to use only one or two levels of privilege can simply
ignore the other levels offered by the 80386. A one-level system should use
privilege level zero; a two-level system should use privilege levels zero
and three.
The addressable domain of a task varies as CPL changes. When CPL is zero,
data segments at all privilege levels are accessible; when CPL is one, only
data segments at privilege levels one through three are accessible; when CPL
is three, only data segments at privilege level three are accessible. This
property of the 80386 can be used, for example, to prevent applications
procedures from reading or changing tables of the operating system.
The "near" forms of JMP, CALL, and
RET transfer within the current code
segment, and therefore are subject only to limit checking. The processor
ensures that the destination of the JMP,
CALL, or
RET instruction does not
exceed the limit of the current executable segment. This limit is cached in
the CS register; therefore, protection checks for near transfers require no
extra clock cycles.
The operands of the "far" forms of
JMP and
CALL refer to other segments;
therefore, the processor performs privilege checking. There are two ways a
JMP or
CALL can refer to another segment:
6.3.1.1 Type Checking
The TYPE field of a descriptor has two functions:
Besides the descriptors for data and executable segments commonly used by
applications programs, the 80386 has descriptors for special segments used
by the operating system and for gates. Table 6-1 lists all the types defined
for system segments and gates. Note that not all descriptors define
segments; gate descriptors have a different purpose that is discussed later
in this chapter.
Type checking can be used to detect programming errors that would attempt
to use segments in ways not intended by the programmer. The processor
examines type information on two kinds of occasions:
Table 6-1. System and Gate Descriptor Types
Code Type of Segment or Gate
0 -reserved
1 Available 286 TSS
2 LDT
3 Busy 286 TSS
4 Call Gate
5 Task Gate
6 286 Interrupt Gate
7 286 Trap Gate
8 -reserved
9 Available 386 TSS
A -reserved
B Busy 386 TSS
C 386 Call Gate
D -reserved
E 386 Interrupt Gate
F 386 Trap Gate
6.3.1.2 Limit Checking
The limit field of a segment descriptor is used by the processor to prevent
programs from addressing outside the segment. The processor's interpretation
of the limit depends on the setting of the G (granularity) bit. For data
segments, the processor's interpretation of the limit depends also on the
E-bit (expansion-direction bit) and the B-bit (big bit) (refer to Table
6-2).
For expand-down data segments, the limit has the same function but is
interpreted differently. In these cases the range of valid addresses is from
limit + 1 to either 64K or 2^(32) - 1 (4 Gbytes) depending on the B-bit. An
expand-down segment has maximum size when the limit is zero.
(Turning on the expand-down bit swaps which bytes are accessible
and which are not.)
Table 6-2. Useful Combinations of E, G, and B Bits
Case: 1 2 3 4
Expansion Direction U U D D
G-bit 0 1 0 1
B-bit X X 0 1
Lower bound is: 0 0 LIMIT+1 shl(LIMIT,12,1)+1
Upper bound is: LIMIT shl(LIMIT,12,1) 64K-1 4G-1
Max seg size is: 64K 4G 64K-1 4G-4K
0-FFFF 0-FFFFFFFF !(0-0) !(0-FFF)
Min seg size is: 1 4K 0 0
0-0 0-FFF !(0-FFFF) !(0-FFFFFFFF)
shl (X, 12, 1) = shift X left by 12 bits inserting one-bits on the right
6.3.1.3 Privilege Levels
The concept of privilege is implemented by assigning a value from zero to
three to key objects recognized by the processor. This value is called the
privilege level. The value zero represents the greatest privilege, the
value three represents the least privilege. The following
processor-recognized objects contain privilege levels:
The processor automatically evaluates the right of a procedure to access
another segment by comparing the CPL to one or more other privilege levels.
The evaluation is performed at the time the selector of a descriptor is
loaded into a segment register. The criteria used for evaluating access to
data differs from that for evaluating transfers of control to executable
segments; therefore, the two types of access are considered separately in
the following sections.
6.3.2 Restricting Access to Data
To address operands in memory, an 80386 program must load the selector of a
data segment into a data-segment register (DS, ES, FS, GS, SS). The
processor automatically evaluates access to a data segment by comparing
privilege levels. The evaluation is performed at the time a selector for the
descriptor of the target segment is loaded into the data-segment register.
As
Figure 6-3
shows, three different privilege levels enter into this type
of privilege check:
Instructions may load a data-segment register (and subsequently use the
target segment) only if the DPL of the target segment is numerically greater
than or equal to the maximum of the CPL and the selector's RPL. In other
words, a procedure can only access data that is at the same or less
privileged level.
6.3.2.1 Accessing Data in Code Segments
Less common than the use of data segments is the use of code segments to
store data. Code segments may legitimately hold constants; it is not
possible to write to a segment described as a code segment. The following
methods of accessing data in code segments are possible:
The same rules as for access to data segments apply to case 1. Case 2 is
always valid because the privilege level of a segment whose conforming bit
is set is effectively the same as CPL regardless of its DPL. Case 3 always
valid because the DPL of the code segment in CS is, by definition, equal to
CPL.
6.3.3 Restricting Control Transfers
With the 80386, control transfers are accomplished by the instructions
JMP,
CALL,
RET,
INT, and IRET,
as well as by the exception and interrupt
mechanisms . Exceptions and interrupts are special cases that
Chapter 9
covers. This chapter discusses only JMP,
CALL, and RET instructions.
As
Figure 6-4
shows, two different privilege levels enter into a privilege
check for a control transfer that does not use a call gate:
The processor permits a JMP or CALL directly to another segment only if one of the following privilege rules is satisfied:
Most code segments are not conforming. The basic rules of privilege above mean that, for nonconforming segments, control can be transferred without a gate only to executable segments at the same level of privilege. There is a need, however, to transfer control to (numerically) smaller privilege levels; this need is met by the CALL instruction when used with call-gate descriptors, which are explained in the next section. The JMP instruction may never transfer control to a nonconforming segment whose DPL does not equal CPL.
6.3.4 Gate Descriptors Guard Procedure Entry Points
To provide protection for control transfers among executable segments
at different privilege levels, the 80386 uses gate descriptors. There are
four kinds of gate descriptors:
This chapter is concerned only with call gates. Task gates are used for
task switching , and therefore are discussed in
Chapter 7.
Chapter 9
explains how trap gates and interrupt gates are used by exceptions and
interrupts.
Figure 6-5
illustrates the format of a call gate. A call gate
descriptor may reside in the GDT or in an LDT, but not in the IDT.
A call gate has two primary functions:
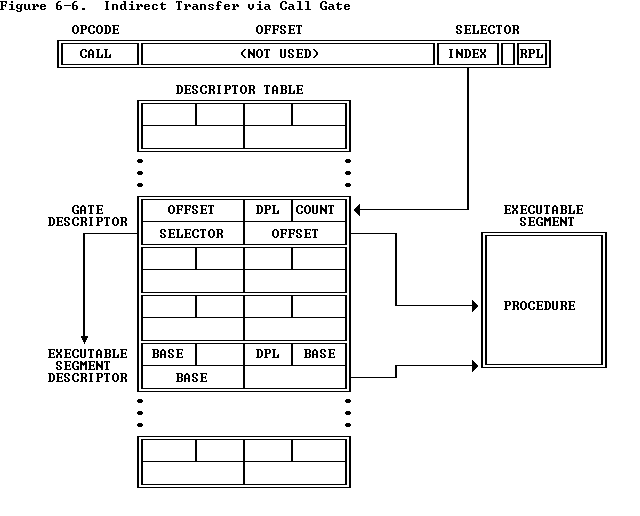
The selector and offset fields of a gate form a pointer to the entry point of a procedure. A call gate guarantees that all transitions to another segment go to a valid entry point, rather than possibly into the middle of a procedure (or worse, into the middle of an instruction). The far pointer operand of the control transfer instruction does not point to the segment and offset of the target instruction; rather, the selector part of the pointer selects a gate, and the offset is not used. Figure 6-6 illustrates this style of addressing.
As Figure 6-7 shows, four different privilege levels are used to check the validity of a control transfer via a call gate:
Gates can be used for control transfers to numerically smaller privilege levels or to the same privilege level (though they are not necessary for transfers to the same level). Only CALL instructions can use gates to transfer to smaller privilege levels. A gate may be used by a JMP instruction only to transfer to an executable segment with the same privilege level or to a conforming segment.
For a JMP instruction to a nonconforming segment, both of the following privilege rules must be satisfied; otherwise, a general protection exception results.
MAX (CPL,RPL) <= gate DPL target segment DPL = CPLFor a CALL instruction (or for a JMP instruction to a conforming segment), both of the following privilege rules must be satisfied; otherwise, a general protection exception results.
MAX (CPL,RPL) <= gate DPL target segment DPL <= CPL
To maintain system integrity, each privilege level has a separate stack.
These stacks assure sufficient stack space to process calls from less
privileged levels. Without them, a trusted procedure would not work
correctly if the calling procedure did not provide sufficient space on the
caller's stack.
The processor locates these stacks via the task state segment (see
Figure 6-8).
Each task has a separate TSS, thereby permitting tasks to have
separate stacks. Systems software is responsible for creating TSSs and
placing correct stack pointers in them. The initial stack pointers in the
TSS are strictly read-only values. The processor never changes them during
the course of execution.
When a call gate is used to change privilege levels, a new stack is
selected by loading a pointer value from the Task State Segment (TSS). The
processor uses the DPL of the target code segment (the new CPL) to index the
initial stack pointer for PL 0, PL 1, or PL 2.
The DPL of the new stack data segment must equal the new CPL; if it does
not, a stack exception occurs. It is the responsibility of systems software
to create stacks and stack-segment descriptors for all privilege levels that
are used. Each stack must contain enough space to hold the old SS:ESP, the
return address, and all parameters and local variables that may be required
to process a call.
As with intralevel calls, parameters for the subroutine are placed on the
stack. To make privilege transitions transparent to the called procedure,
the processor copies the parameters to the new stack. The count field of a
call gate tells the processor how many doublewords (up to 31) to copy from
the caller's stack to the new stack. If the count is zero, no parameters are
copied.
The processor performs the following stack-related steps in executing an
interlevel CALL.
The TSS does not have a stack pointer for a privilege level 3 stack,
because privilege level 3 cannot be called by any procedure at any other
privilege level.
Procedures that may be called from another privilege level and that require
more than the 31 doublewords for parameters must use the saved SS:ESP link
to access all parameters beyond the last doubleword copied.
A call via a call gate does not check the values of the words copied onto
the new stack. The called procedure should check each parameter for
validity. A later section discusses how the ARPL,
VERR,
VERW,
LSL, and
LAR
instructions can be used to check pointer values.
The "far" form of the
RET instruction pops the return pointer that was
pushed onto the stack by a prior far
CALL instruction. Under normal
conditions, the return pointer is valid, because of its relation to the
prior CALL or
INT.
Nevertheless, the processor performs privilege checking
because of the possibility that the current procedure altered the pointer or
failed to properly maintain the stack. The RPL of the CS selector popped
off the stack by the return instruction identifies the privilege level of
the calling procedure.
An intersegment return instruction can change privilege levels, but only
toward procedures of lesser privilege. When the
RET instruction encounters a
saved CS value whose RPL is numerically greater than the CPL, an interlevel
return occurs. Such a return follows these steps:
LAR (Load Access Rights) is used to verify that a pointer refers to a
segment of the proper privilege level and type.
LAR has one operand
selector for a descriptor whose access rights are to be examined. The
descriptor must be visible at the privilege level which is the maximum of
the CPL and the selector's RPL. If the descriptor is visible,
LAR obtains a
masked form of the second doubleword of the descriptor, masks this value
with 00FxFF00H, stores the result into the specified 32-bit destination
register, and sets the zero flag. (The x indicates that the corresponding
four bits of the stored value are undefined.) Once loaded, the access-rights
bits can be tested. All valid descriptor types can be tested by the
LAR
instruction. If the RPL or CPL is greater than DPL, or if the selector is
outside the table limit, no access-rights value is returned, and the zero
flag is cleared. Conforming code segments may be accessed from any privilege
level.
LSL
(Load Segment Limit) allows software to test the limit of a descriptor.
If the descriptor denoted by the given selector (in memory or a register) is
visible at the CPL,
LSL loads the specified 32-bit register with a 32-bit,
byte granular, unscrambled limit that is calculated from fragmented limit
fields and the G-bit of that descriptor. This can only be done for segments
(data, code, task state, and local descriptor tables); gate descriptors are
inaccessible. (Table 6-4 lists in detail which types are valid and which
are not.) Interpreting the limit is a function of the segment type. For
example, downward expandable data segments treat the limit differently than
code segments do. For both
LAR and
LSL, the zero flag (ZF) is set if the
loading was performed; otherwise, the ZF is cleared.
6.3.4.1 Stack Switching
If the destination code segment of the call gate is at a different
privilege level than the CPL, an interlevel transfer is being requested.
Figure 6-9
illustrates the stack contents after a successful interlevel
call.
6.3.4.2 Returning from a Procedure
The "near" forms of the
RET instruction transfer control within the current
code segment and therefore are subject only to limit checking. The offset of
the instruction following the corresponding
CALL, is popped from the stack.
The processor ensures that this offset does not exceed the limit of the
current executable segment.
6.3.5 Some Instructions are Reserved for Operating System
Instructions that have the power to affect the protection mechanism or to
influence general system performance can only be executed by trusted
procedures. The 80386 has two classes of such instructions:
Table 6-3. Interlevel Return Checks
SF = Stack Fault
GP = General Protection Exception
NP = Segment-Not-Present Exception
Type of Check Exception Error Code
ESP is within current SS segment SF 0
ESP + 7 is within current SS segment SF 0
RPL of return CS is greater than CPL GP Return CS
Return CS selector is not null GP Return CS
Return CS segment is within descriptor
table limit GP Return CS
Return CS descriptor is a code segment GP Return CS
Return CS segment is present NP Return CS
DPL of return nonconforming code
segment = RPL of return CS, or DPL of
return conforming code segment <= RPL
of return CS GP Return CS
ESP + N + 15 is within SS segment
N Immediate Operand of RET N Instruction SF Return SS
SS selector at ESP + N + 12 is not null GP Return SS
SS selector at ESP + N + 12 is within
descriptor table limit GP Return SS
SS descriptor is writable data segment GP Return SS
SS segment is present SF Return SS
Saved SS segment DPL = RPL of saved
CS GP Return SS
Saved SS selector RPL = Saved SS
segment DPL GP Return SS
6.3.5.1 Privileged Instructions
The instructions that affect system data structures can only be executed
when CPL is zero. If the CPU encounters one of these instructions when CPL
is greater than zero, it signals a general protection exception. These
instructions include:
6.3.5.2 Sensitive Instructions
Instructions that deal with I/O need to be restricted but also need to be
executed by procedures executing at privilege levels other than zero. The
mechanisms for restriction of I/O operations are covered in detail in
Chapter 8, "Input/Output".
6.3.6 Instructions for Pointer Validation
Pointer validation is an important part of locating programming errors.
Pointer validation is necessary for maintaining isolation between the
privilege levels. Pointer validation consists of the following steps:
Although the 80386 processor automatically performs checks 2 and 3 during
instruction execution, software must assist in performing the first check.
The unprivileged instruction
ARPL is provided for this purpose. Software can
also explicitly perform steps 2 and 3 to check for potential violations
(rather than waiting for an exception). The unprivileged instructions
LAR,
LSL,
VERR, and
VERW are provided for this purpose.
Table 6-4. Valid Descriptor Types for LSL
Type Descriptor Type Valid?
Code
0 (invalid) NO
1 Available 286 TSS YES
2 LDT YES
3 Busy 286 TSS YES
4 286 Call Gate NO
5 Task Gate NO
6 286 Trap Gate NO
7 286 Interrupt Gate NO
8 (invalid) NO
9 Available 386 TSS YES
A (invalid) NO
B Busy 386 TSS YES
C 386 Call Gate NO
D (invalid) NO
E 386 Trap Gate NO
F 386 Interrupt Gate NO
6.3.6.1 Descriptor Validation
The 80386 has two instructions,
VERR and
VERW, which determine whether a
selector points to a segment that can be read or written at the current
privilege level. Neither instruction causes a protection fault if the result
is negative.
VERR (Verify for Reading) verifies a segment for reading and loads ZF with 1 if that segment is readable from the current privilege level. VERR checks that:
VERW (Verify for Writing) provides the same capability as VERR for verifying writability. Like the VERR instruction, VERW loads ZF if the result of the writability check is positive. The instruction checks that the descriptor is within bounds, is a segment descriptor, is writable, and that its DPL is numerically greater or equal to both the CPL and the selector's RPL. Code segments are never writable, conforming or not.
A common example is a file system procedure, FREAD (file_id, n_bytes, buffer_ptr). This hypothetical procedure reads data from a file into a buffer, overwriting whatever is there. Normally, FREAD would be available at the user level, supplying only pointers to the file system procedures and data located and operating at a privileged level. Normally, such a procedure prevents user-level procedures from directly changing the file tables. However, in the absence of a standard protocol for checking pointer validity, a user-level procedure could supply a pointer into the file tables in place of its buffer pointer, causing the FREAD procedure to corrupt them unwittingly.
Use of RPL can avoid such problems. The RPL field allows a privilege attribute to be assigned to a selector. This privilege attribute would normally indicate the privilege level of the code which generated the selector. The 80386 processor automatically checks the RPL of any selector loaded into a segment register to determine whether the RPL allows access.
To take advantage of the processor's checking of RPL, the called procedure need only ensure that all selectors passed to it have an RPL at least as high (numerically) as the original caller's CPL. This action guarantees that selectors are not more trusted than their supplier. If one of the selectors is used to access a segment that the caller would not be able to access directly, i.e., the RPL is numerically greater than the DPL, then a protection fault will result when that selector is loaded into a segment register.
ARPL (Adjust Requestor's Privilege Level) adjusts the RPL field of a selector to become the larger of its original value and the value of the RPL field in a specified register. The latter is normally loaded from the image of the caller's CS register which is on the stack. If the adjustment changes the selector's RPL, ZF (the zero flag) is set; otherwise, ZF is cleared.
up:
Chapter 6 -- Protection
prev: 6.2 Overview of 80386 Protection Mechanisms
next: 6.4 Page-Level Protection